通信历史连载537-中国移动之全球通GoTone的那些事
通信历史连载537-中国移动之全球通GoTone的那些事

“全球通”诞生的故事,从中国电信到中国移动:
“全球通”最早是“全球移动通信系统(GSM)”的中文简称。1994年:全国第一个数字移动通信商用网在广州开通。“全球通”是2G时代的第一个品牌,“全球通”是“全球通行”的意思。1995年:广东移动推出了“广东全球通”品牌。品牌推出后立刻受到广东用户的欢迎,开创了国内电信行业品牌经营的先河。

1998年12月:中国电信全球通号段正式启用,其中1390号段是第一个推出的号段,标志着移动进入了全球通时代。中国电信打出“全球通”通全球的广告牌。


2000年1月:邮政发布中国移动通信的“全球通”明信片。

2000年4月20日:中国电信一分为四,中国移动通信集团公司成立大会。鲁向东成为中国移动集团副总经理,主管其中最为重要的市场营销。截至2000年6月10日:中国移动“全球通”数字移动通信网的用户总数突破4800万户。


2000年9月13日:中国移动申请“全球通”的商标,通讯类。

2001年3月21日:中国移动陆续在全国推出“全球通”移动电话套餐资费。

2001年12月19日:中国移动申请“全球通”、“GoTone”和图形的商标。

2002年5月:中国移动“全球通”新标识露面。



2003年4月和5月:中国移动“全球通”中、英文商标和图形商标,分别获得国家工商行政管理总局商标局颁发的《商标注册证》。“全球通”成为中国移动旗下的品牌,代表了高端、价值与成功。

2002年-2003年:三个事件。

2004年7月21日:中国移动成为北京2008年奥运会移动通信服务合作伙伴,中国移动为“全球通”品牌赋予全新的品牌理念-“我能”。“我能”成为社会的热门词汇,“全球通”成为高端移动客户的代名词。邓亚萍作为品牌的唯一女性代言人,广告语“我不信有做不成的事, 从身高一米五五到奥运会冠军,总能听见鼓励的声音;从字母开始到剑桥博士,动力来自家人的笑脸……现在服务奥运,用信息处理繁杂工作,一样可以赢得漂亮,——我能!”




2004年:烟台市长岛县大钦岛营业部。


2005年5月17日:世界电信日,中国移动推出“全球通”服务标准“A+”,代表最高水准业务服务品质。

2006年8月:广东移动全球通八大套餐用户(不含梅州地区)可享受不同档次被叫全包的超值优惠,话费至少可节省50%。其中,最低每月98元即可享受本地包月随意接听。这是广东移动最新推出的“全球通品牌八大资费套餐”业务。
2008年:全球通已拥有134、135、136、137、138、139、150、151、157、158、159共十一个号码段。
2010年:“全球通”客户数7000万,占中国移动移动用户的十分之一。“全球通”统一套餐用户数突破3500万。
2011年5月17日:中国移动宣布在全国统一下调全球通套餐资费,实现客户在全国范围内长途、市话、漫游主叫通话资费标准的统一,并对被叫通话全部免费。


2013年12月18日:中国移动全球合作伙伴大会,中国移动将“多品牌架构”调整为“单一品牌架构”,正式发布4G网络品牌“and和”,“全球通、动感地带、神州行”调整为客户俱乐部。

全球通回归的故事:
2018年12月初:中国移动全球合作伙伴大会,中国移动高层介绍其5G业务和终端发展策略时,透露了全球通用户的特别权益。说明中国移动即将重新激活全球通品牌的计划。

2018年12月21日:中国移动正式宣布“全球通”品牌回归。推出最新套餐。



2020年5月27日11时:中国移动在珠穆朗玛峰6500米的前进营地开通5G基站。

2020年:全球通、动感地带、神州行,中国移动三大品牌全新标识发布。

2023年8月8日:第十五个“全民健身日”,2023中国移动“全球通·逐马计划”发布会,中国移动与中国田径协会达成战略合作,官宣“全球通·逐马计划”并启动活动预约,双方将围绕7场顶级马拉松赛事展开深度合作。

2023年10月12日:2023年中国移动全球合作伙伴大会,中国移动发布“品牌引领行动”,“全球通”客户品牌坚持高标准品质服务,面向高端客户推出“尊享服务回馈”,打造头等舱级的品牌体验。
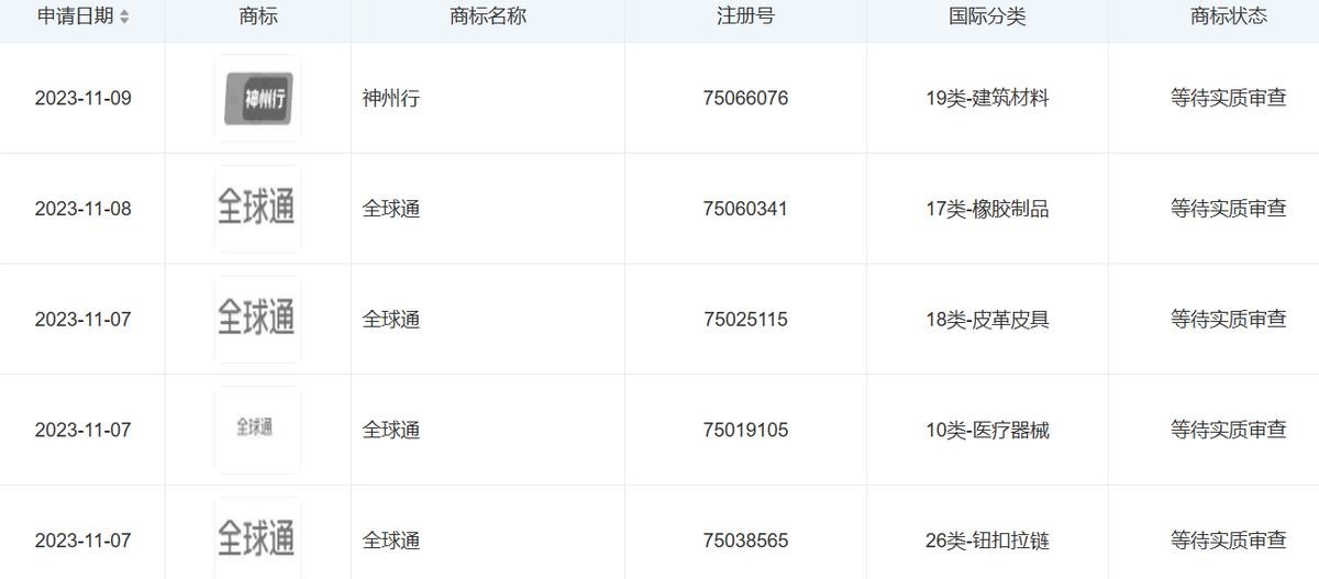
2023年7-11月:中国移动申请全球通商标,涉及非通讯的多种类别。


2023年12月:中国移动的网上营业厅

2023年12月:中国移动的微信公众号和微博

请大家欣赏一下中国移动全球通的卡片。







